新闻资讯

我们将坚持专业化的发展战略,求真务实,开拓创新,以“细节成就品质,稳健发展”的发展模式,

致力于打造“中国智造”品牌,为社会的发展和产业的进步不断努力。

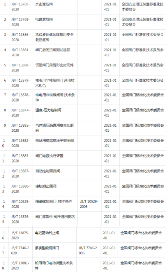
2021年1月1日要实施的18项阀门行业标准!
来源: | 作者:hardware-100 | 发布时间: 2022-01-05 | 1707 次浏览 | 🔊 点击朗读正文 ❚❚ | 分享到:

       根据中华人民共和国工业和信息化部公告2020年 第15号,工业和信息化部批准公布了一批行业标准,其中由全国阀门标准化技术委员会和全国安全泄压装置标准化技术委员会归口的标准共18项,如下表:


​新闻分类
热门资讯